Биде — не просто элемент комфортного санузла, а практичное решение для повседневной гигиены. Внешне оно напоминает унитаз, но не дублирует его функции. В статье подробно расскажем про биде: что это такое, как его выбрать, где разместить, как установить и правильно пользоваться.
Источник: chatgpt.com
Что такое биде и для чего оно нужно
Биде — это санитарно-гигиеническое устройство для водных процедур после посещения туалета. В отличие от унитаза оно не служит для сброса отходов, а предназначено исключительно для омовения. У классических отдельных моделей нет сливного бачка, предусмотрены только подвод и отвод воды. Биде не заменяет унитаз, а дополняет его.
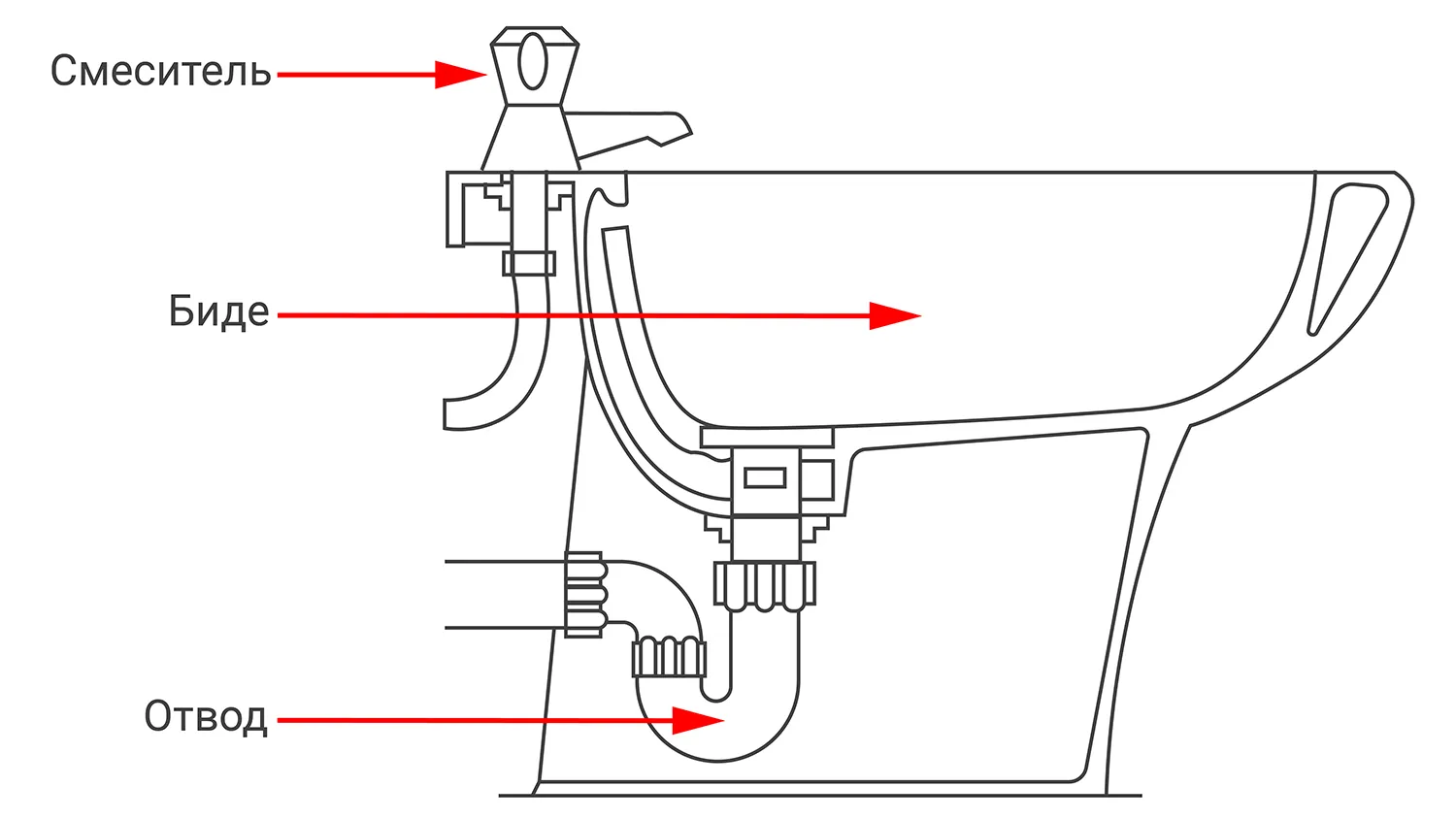
Устройство и как работает биде
Биде выглядит как низкая чаша с гладкими стенками. В основании находится сливное отверстие с сифоном, предотвращающим проникновение запахов из канализации. Вода для омовения подводится через смеситель: в простых моделях установлен обычный, как в раковине, а в более сложных предусмотрена целая система с термостатом и аэрацией. В электронных устройствах, крышках-биде и унитазах с функцией биде внутри корпуса скрыта выдвижная форсунка (одна или две). Она подает тонкую струю теплой воды.
В некоторых устройствах предусмотрен перелив ― дополнительное отверстие, обычно располагаемое под краем чаши. Оно предотвращает вытекание воды на пол в случае, если пользователь забудет закрыть кран (аналогично переливу в раковинах).
Принцип работы биде зависит от типа устройства, но общая схема одна. Пользователь садится на чашу, открывает кран и омывает интимные зоны. Использованная вода уходит в канализацию через слив.
В механических версиях (с обычным смесителем) нужно вручную настраивать комфортную температуру и напор поворотом рычага или вентиля. В электронных биде управление осуществляют с помощью панели на самом устройстве или пульта дистанционного управления. При активации форсунки выдвигаются из корпуса и подают струю. Кнопками также можно выставлять настройки: уровень нагрева и напора воду, а иногда и положение самой форсунки.
Виды биде
Производители выпускают несколько типов биде. Они различаются конструкцией, способом монтажа и набором функций.
Отдельное биде
Отдельное (независимое) — это чаша, похожая на раковину или унитаз. По способу монтажа бывает двух видов:
- Напольное устанавливают на пол санузла. Подключение водопровода и канализации выполняют снизу или сзади.
- Подвесное (настенное) биде крепят к стене через скрытую инсталляцию, что обеспечивает эстетичный внешний вид. Но при этом необходим предварительный монтаж рамы в стену.
Подвесное отдельное биде слева от унитаза. Источник: shutterstock.com
Унитаз-биде
Унитаз-биде совмещает функции двух устройств. В чашу встроены форсунки, по которым поступает вода. Полностью механические модели практически не встречаются. Их аналоги — это крышки-биде с ручным управлением.
Электронные варианты оснащены специальным блоком, предназначенным для подогрева воды и сиденья, регулировки напора и угла струи, подсушивания воздухом, автоматического открывания крышки и активации других функций. Такие изделия требуют подключения к сети через розетку.
Источник: Youtube | Roxen
Крышка-биде
Крышка-биде — это съемное сиденье с интегрированными форсунками. Приспособление устанавливают на обычный унитаз. Чаще всего его приобретают отдельно, но встречаются и комплекты «унитаз + сиденье-биде». Это оптимальный способ обновить классическую сантехнику без ремонта туалета.
Крышка может быть механической или электронной. Первую подключают к водопроводу через тройник — Y-образный фитинг-разветвитель, который позволяет завести воду и в унитаз, и в крышку. Электронная помимо воды требует подключения к розетке. Некоторые модели поддерживают те же функции, что и полноценные унитазы-биде: подогрев, сушку, пульсирующий режим струи.
Источник: shutterstock.com
Гигиенический душ
Гигиенический душ — это не биде в строгом значении этого слова, потому что у него нет собственной чаши. Но он выполняет ту же задачу: предоставляет доступ к воде для гигиенических процедур.
Гигиенический душ: какой выбрать и как установить
Узнайте большеЗдесь струю направляют прямо в унитаз, поэтому отдельный слив не нужен. Такой вариант удобен в маленьких санузлах, где нет места для отдельного биде.
Источник: shutterstock.com
Душ состоит из смесителя (часто с термостатом) и выносной компактной лейки с кнопкой для подачи воды. Его крепят на стену, унитаз или раковину через специальный смеситель с дополнительным выходом на лейку с держателем.
Как выбрать биде
При покупке нужно ориентироваться не только на тип и внешний вид устройства, но и на некоторые характеристики: габариты, особенности монтажа, доступность коммуникаций и другие. Разберем подробнее самые важные критерии.
Размер
Габариты зависят от конструкции. Отдельное устройство, как правило, занимает значительное место. Стандартные размеры биде:
- длина (глубина) — 50–70 см
- ширина — 35–40 см
- высота — 30–40 см
У напольных и подвесных моделей схожие размеры, но последние за счет скрытой инсталляции визуально выглядят легче и освобождают пол для уборки.
Унитаз-биде по габаритам соответствует стандартному унитазу. Крышка-биде — самый компактный вариант. Не меняет размеры унитаза, но требует точной совместимости с формой его чаши. Гигиенический душ — тоже минималистичное решение, занимает лишь участок стены шириной 10–15 см. Именно столько нужно для установки лейки и держателя.
Если место позволяет, можно поставить отдельное устройство — это удобно, но планировать установку биде в туалете нужно на этапе ремонта. В маленьком санузле выручают крышка или унитаз-биде. Гигиенический душ — простое и бюджетное решение, но нужно заранее продумать установку и подведение воды.
Как сэкономить пространство в маленькой ванной
Узнайте большеМатериал изготовления
Биде чаще всего делают из санитарного фаянса или фарфора. Несмотря на внешнее сходство, это разные материалы со своими эксплуатационными характеристиками:
- Санфаянс — пористая керамика, которую после обжига покрывают глазурью. Поверхность получается гладкой и водонепроницаемой, однако при повреждении глазури (сколы, трещины) основа начинает впитывать влагу и загрязнения. Из плюсов ― доступная цена и широкий ассортимент моделей. Главные минусы — относительно низкая прочность, склонность к появлению царапин и потертостей, более высокая пористость по сравнению с фарфором. Фаянсовые биде требуют аккуратного обращения и регулярного ухода без абразивных чистящих средств. Срок службы при бережной эксплуатации — 10–20 лет.
- Санфарфор — более технологически совершенный материал. Он не такой пористый, плотнее и проходит высокотемпературный обжиг, что обеспечивает повышенную прочность и устойчивость к механическим повреждениям. Преимущества материала — низкое водопоглощение, устойчивость к пятнам, запахам и микроорганизмам, длительное сохранение первоначального вида, простота в уходе. Из недостатков — более высокая стоимость. Срок эксплуатации достигает 25 лет и более, при правильной установке и использовании такое биде прослужит до 30–40 лет.
Из других материалов сантехнику для гигиены делают реже. Можно встретить:
- Каменные и мраморные биде. Выглядят эффектно, но стоят дорого. Требуют тщательного ухода, уязвимы к кислотам, тяжелые. Установка возможна только на усиленное основание.
- Акриловые. Легкие и недорогие, но подвержены царапинам и быстро теряют блеск. Нуждаются в деликатном уходе.
- Металлические (чаще из нержавеющей стали). Отличаются высокой прочностью и долговечностью, их чаще всего устанавливают в общественных санузлах.
Для домашних санузлов оптимальным решением остается санитарный фарфор — он сочетает прочность, гигиеничность и презентабельный внешний вид. Фаянс подойдет при ограниченном бюджете, но требует более бережного отношения.
Тип поверхности и цвет
Покрытие сантехники бывает глянцевым или матовым:
- Глянцевое встречается чаще: оно проще в уходе, дольше сохраняет блеск. Такую поверхность легко чистить, но она требует частого протирания насухо, иначе остаются разводы.
- Матовые биде выглядят стильно и современно. На них разводы и капли не так заметны, потому что нет бликов. Однако известковый налет и темные пятна от ржавчины и жесткой воды могут въедаться, особенно если поверхность пористая или без защитной пропитки.
Как убрать известковый налет в домашних условиях
Узнайте большеЦветовая палитра гигиенической сантехники обычно ограничена белым, но есть и варианты в бежевых, серых, черных тонах. В дизайнерских коллекциях можно встретить синие, красные или биде других ярких оттенков.
Белая сантехника универсальна. На черной и темно-серой лучше видны белый налет, капли, пыль, волосы, следы туалетной бумаги. Они быстрее выглядят «грязными», даже если чистые. Особенно остро проблема стоит в домах с жесткой водой и отсутствием фильтров.
Форма
Биде выпускают овальными, круглыми и прямоугольными. Форма влияет не только на дизайн, но и на комфорт, пространство в санузле, эргономику и удобство уборки:
- Овальные ― самый популярный и универсальный вариант. Дает больше пространства спереди и по бокам, что удобно людям высокого роста или с широкими бедрами. Хорошо сочетается с унитазом, легко вписывается в классический и современный интерьер.
- Круглые — более компактные, занимают меньше места и поэтому подходят для маленьких санузлов. Истинно круглые биде — редкость, обычно выпускают полукруглые или скругленные овальные. Иногда их устанавливают в угол для экономии пространства. Могут быть менее удобными из-за меньшей площади чаши и ограниченного доступа к смесителю.
- Прямоугольные — выглядят стильно, современно, подчеркивают минимализм интерьера. Встречаются в дизайнерских проектах со встроенной инсталляцией. У многих предусмотрены чуть скругленные углы для безопасности и комфорта. Могут быть менее эргономичными.
Способ установки
Как уже говорилось выше, есть два варианта монтажа биде: напольный и подвесной (настенный). От выбора способа установки зависит внешний вид санузла и сложность работ, доступ к коммуникациям и удобство эксплуатации.
Напольные биде проще в монтаже, такие изделия подходят для установки в уже готовый санузел и не требует вскрытия стен. Чашу фиксируют дюбелями или анкерами, а коммуникации — подвод и слив воды — подводят сзади или снизу конструкции.
Напольное биде. Источник: shutterstock.com
Подвесные модели крепят к металлической раме-инсталляции, которую прячут в короб в стене. Само биде навешивают на скрытые кронштейны, а все коммуникации — подвод воды, слив, а при необходимости и электрику — прячут.
Помните, не каждая стена подходит для подвесного биде. Несущие перегородки из бетона, блоков или кирпича — оптимальны. Стены из гипсокартона требуют усиленной конструкции и расчетов. Используйте инсталляцию с запасом нагрузки 25 % от заявленной, усиленные крепежные элементы и демпфирующие прокладки. Максимальная нагрузка с учетом пользователя может достигать 150–200 кг.
Подвесное биде. Источник: petrovich.ru
Подвод воды
Подключение устройства к водопроводу зависит от вида биде.
Для отдельно стоящей модели нужен подвод холодной и горячей воды, чтобы регулировать температуру струи. Вода поступает через скрытые или открытые трубы, которые выводят рядом с местом установки, сзади или сбоку от чаши. Соединения выполняют гибкими подводками с запорными вентилями для удобства обслуживания.
К унитазу-биде воду для слива и базового омовения подключают так же, как и к обычному. Механические конструкции требуют двух подводок: горячей и холодной, чтобы пользователь мог регулировать температуру жидкости через смеситель. Электронные изделия работают только с холодной водой. Горячая не нужна — она нагревается внутри устройства с помощью встроенного электронагревателя.
Крышки-биде подключают только к холодной воде через тройник, который устанавливают в подводящую трубку к бачку унитаза. Часть воды идет в бачок для обычного слива, часть — в систему крышки для подачи к форсункам.
Механические крышки используют воду без подогрева. Электронные оснащены встроенным нагревателем двух типов:
- Проточный. Температура холодной воды повышается до комфортной при ее прохождении через нагревательный элемент в тот момент, когда пользователь включает функцию обмыва. Такие модели обычно дороже.
- Накопительный. Внутри крышки предусмотрен небольшой резервуар, в котором накапливается вода, при этом ее температура держится на определенном уровне. Объем бака ограничен (0,5–2 л, чаще — около 1 л), поэтому подача теплой воды может прекратиться, если процедура затянется. Такие сиденья, как правило, дешевле, но их считают менее долговечными из-за постоянного контакта нагревателя с водой и образования накипи.
В гигиенический душ вода поступает через настенный смеситель. Его можно установить отдельно или совместить, например, с краном для раковины или ванны. Выделяют два основных типа таких смесителей: с термостатом, который позволяет заранее выставить комфортную температуру, и без.
Способ подключения к канализации
Независимое биде подсоединяют к канализации аналогично раковине. Использованная вода стекает через сливное отверстие в чаше, проходит через сифон, а затем по гофрированной или жесткой трубе уходит в стояк.
Что нужно знать о такой системе:
- Сифон — обязательный элемент. Обычно используют бутылочный или трубный, который предотвращает проникновение канализационных запахов в помещение за счет водяного затвора.
- Диаметр трубы: стандарт — 40 мм, хотя допускается 32 мм при условии хорошего уклона. Меньший диаметр повышает риск засоров.
- Подключение: сифон соединяют с патрубком чаши, а далее — с канализационной трубой (чаще всего ПВХ диаметром 40–50 мм).
Унитаз-биде совмещает две функции, поэтому все стоки — от смыва и гигиенического омовения — уходят через общий слив чаши в канализацию. Дополнительное подключение не требуется.
У крышки-биде и гигиенического душа также нет собственного слива, их не подключают к канализации напрямую. Вся вода от омовения стекает в чашу унитаза и удаляется при следующем смыве. Это исключает необходимость прокладки отдельной трубы канализации.
Способ управления
Эта характеристика влияет на уровень комфорта, простоту использования и стоимость устройства. В зависимости от модели и класса техники выделяют три основных типа управления: механическое, электронное (с кнопками или пультом) и автоматизированное.
Механический способ реализован в классических отдельных биде, гигиенических душах, базовых крышках-биде без подогрева. Управление осуществляется вручную: пользователь открывает кран (смеситель или вентиль), сам регулирует температуру и напор воды.
Унитаз-биде с механическим управлением в виде смесителя. Источник: shutterstock.com
Электронный вариант с кнопочным или сенсорным интерфейсом характерен для электронных крышек-биде, некоторых унитазов-биде, гигиенических душей с панелью управления. Такие устройства работают от электросети. Пользователь активирует функции с помощью кнопок на корпусе, проводного или беспроводного пульта ДУ.
Крышка-биде с электронным управлением. Источник: shutterstock.com
Автоматизированное и интеллектуальное управление встречается в унитазах-биде премиум-класса. Позволяет интегрировать устройство в систему умного дома, управлять им с помощью голоса и через приложение.
Дополнительные функции
Современные биде оснащают рядом технологичных функций, которые повышают комфорт и удобство использования. Большинство опций реализовано за счет встроенного электронного блока, поэтому для работы требуется стабильное электропитание: розетка с заземлением, установленная на безопасном расстоянии.
Как расположить розетки в ванной комнате
Узнайте большеОсновные дополнительные функции биде и их назначение:
- Фен. После омовения поток теплого воздуха высушивает кожу. Можно регулировать температуру и интенсивность. Функция не заменяет полотенце — эффективность зависит от чувствительности кожи и продолжительности сушки.
- Подогрев. Сиденье нагревается до комфортной температуры (обычно 30–40 °C). Как правило, предусмотрено несколько уровней нагрева и возможность отключения.
- Автоматическая регулировка. Позволяет точно настроить параметры струи: температуру, напор, угол и положение форсунки.
- Дезинфекция. Обычно это UV-обеззараживание: ультрафиолетовые лампы дезинфицируют поверхность сиденья и форсунки.
- Самоочистка форсунок. После каждого использования струя воды или специальный механизм очищает сопла, предотвращая скопление бактерий.
- Вентиляция. Встроенный ионизатор или угольный фильтр нейтрализуют неприятные запахи.
- Ароматизация. Некоторые модели распыляют легкий освежающий аромат перед или после использования.
- Датчик присутствия. Автоматически открывает крышку при приближении человека и закрывает после ухода. Может запускать смыв или активировать подогрев. Часто присутствует в умных унитазах-биде класса люкс.
- Фильтрация. Перед подачей к форсункам вода проходит через сменный фильтр (обычно угольный), который задерживает механические примеси, хлор и неприятные запахи.
- Микролифт. Механизм для мягкого и бесшумного опускания крышки и сиденья. Защищает от ударов, предотвращает поломку петель и добавляет эстетики.
- Память настроек. Позволяет сохранить индивидуальные параметры для нескольких пользователей. Активируется по датчику или через пульт.
- Интернет и умный дом. В топовых устройствах предусмотрена поддержка Wi-Fi, Bluetooth, интеграция с голосовыми помощниками, управление через мобильное приложение.
Дополнительные функции превращают биде из простого гигиенического устройства в высокотехнологичный элемент комфортного санузла. Однако почти все опции требуют электропитания, а некоторые — регулярного обслуживания (замена фильтров, чистка).
Где и как расположить биде
Непродуманная планировка может сделать устройство неудобным или даже опасным, особенно для пожилых людей или пользователей с ограниченной подвижностью. При выборе места установки важно учитывать эргономику, доступ к коммуникациям и строительные нормы.
Отдельное стационарное биде устанавливают рядом с унитазом, чтобы обеспечить логичную последовательность действий: сначала использование унитаза, затем — гигиенические процедуры.
Необходимо выдерживать расстояния:
- Между чашами унитаза и биде — 35–45 см. Так не возникнет ощущение тесноты и можно будет свободно перемещаться.
- От боковой стенки или другого сантехнического прибора — не менее 30–40 см для удобства посадки и устойчивости.
- Перед биде должно быть свободное пространство шириной 70–80 см, чтобы можно было спокойно садиться и вставать.
Унитаз с функцией биде устанавливают на место стандартного, поэтому требования к размещению остаются теми же. Важное отличие: для электронных необходимо предусмотреть розетку.
Гигиенический душ крепят на стену рядом с унитазом, обычно сбоку или сзади:
- Лейка должна быть свободно извлекаемой, а шланг — достаточной длины (обычно 1,2–1,5 м), чтобы создать комфортный угол наклона.
- Высота держателя лейки — 70–80 см от пола. Этого достаточно, чтобы пользователь мог легко достать лейку, сидя на унитазе.
- Смеситель можно установить выше (на уровне 100–120 см), если у него предусмотрен термостат с фиксированной температурой. Более высокое расположение позволяет добиться лучшего напора воды и поддерживать стабильное давление в системе. Для корректной работы термостатического смесителя необходимо обеспечить давление воды в системе от 1 до 5 Бар и соблюдать разницу давления между холодной и горячей водой менее 10 %. В этом случае при установке смесителя вызовите сантехника — он проверит давление, при необходимости настроит систему и убедится, что оба условия соблюдены. Это особенно важно в старых домах или при нестабильном водоснабжении.
Как установить биде в туалете своими руками
При аккуратном подходе и соблюдении технологии монтажа с задачей можно справиться самостоятельно. Рассмотрим на примере отдельного биде — это самый популярный и сложный вариант. Установка унитаза-биде схожа с монтажом классического сантехнического изделия.
Как установить унитаз своими руками
Узнайте большеИнструменты и материалы
Для установки биде понадобятся:
- перфоратор (можно взять в аренду) — для работы с бетоном и кирпичом
- дрель с алмазным буром и безударным режимом — для работы с керамической плиткой
- разводной и рожковый гаечный ключ
- строительный уровень
- измерительная рулетка
- строительный карандаш
- армированные гибкие подводки с оплеткой из нержавеющей стали — для подключения к водопроводу
- распорные дюбели диаметром 8–10 мм с саморезами диаметром 6–8 мм длиной 60–80 мм или анкеры — для бетонных и кирпичных полов
- сифон для биде
- резиновые или силиконовые уплотнительные прокладки
- резиновая сантехническая манжета
- монтажный пистолет и силиконовый герметик с антигрибковой защитой
Подготовительные работы
Для отдельного биде необходимы два подвода воды: холодный и горячий. Обычно они расположены на стене или полу рядом с местом установки. В новых квартирах застройщики часто оставляют временные заглушки на патрубках — их нужно снять, чтобы проверить наличие и напор воды.
На каждом подводе должна быть запорная арматура: вентиль или шаровой кран. Она позволяет перекрывать воду только к биде при ремонте или замене, не отключая всю систему.
Слив для отдельного биде подключают к канализационному стояку через патрубок диаметром 32–40 мм — стандартный размер, как у раковины. Патрубок может выходить из стены или пола. Он должен быть чистым, герметичным и расположен так, чтобы создать минимальный изгиб трубопровода.
Также важно, чтобы сифон плотно соединялся с патрубком без зазоров. При несовпадении диаметров используют переходные манжеты или адаптеры. Если разница значительная или высота патрубка не соответствует уровню чаши, потребуется корректировка разводки (например, с помощью отводов или удлинителей). Лучше сделать это до установки сантехники.
Чтобы биде встало ровно и точно совпало с коммуникациями, необходима предварительная разметка. Для этого используют шаблон из инструкции (иногда его прилагают в виде бумажного листа). Если шаблона нет — ставят чашу на планируемое место, выравнивают по уровню и отмечают:
- контур основания
- точки крепления к полу или стене
- положение сливного и водозаборных отверстий
Затем нужно проверить, совпадают ли точки подключения с реальными выводами воды и канализации. При необходимости скорректировать положение труб:
- подрезать или нарастить подводы с помощью фитингов
- отрегулировать высоту слива с помощью гофры или переходников
Установка отдельного напольного биде
Перед началом работ обязательно перекройте вентили подачи воды. Если их нет — закройте стояки на этаже или в подвале. Спустите остаток воды, открыв краны в других точках водоразбора (например, у раковины). Это предотвратит затопление при случайном повреждении труб.
Ход работ:
- Убедитесь, что в местах сверления нет труб или кабелей. Сделайте отверстия в полу санузла по разметке. Для бетона и кирпича используйте перфоратор с буром, для плитки — дрель в безударном режиме, чтобы не повредить покрытие. Начинайте с малых оборотов, периодически охлаждайте место сверления водой. Вставьте дюбели или анкеры в подготовленные отверстия.
- Проверьте наличие резиновой прокладки или шайбы между смесителем и чашей. Ее отсутствие вызовет протечку. Установите смеситель в монтажное отверстие на чаше биде — оно находится на задней площадке, как у раковины. Снизу закрепите прижимной гайкой. Сначала затяните ее руками на 1/4–1/2 оборота, затем аккуратно подтяните разводным или гаечным ключом.
- К смесителю через патрубки подсоедините гибкие шланги для холодной и горячей воды. На концах шлангов на гайках обычно стоят резиновые прокладки — проверьте, что они на месте и лежат ровно. Соединения аккуратно затяните гаечным ключом.
- Установите сифон на выпускное отверстие биде. Между патрубком и накидной гайкой обязательно используйте резиновое уплотнительное кольцо. Аккуратно затяните соединение разводным ключом, не деформируя пластик. Если у биде уже есть встроенный сифон, подключайте его напрямую к канализационному выходу.
- Поставьте биде на размеченное место. Совместите отверстия в основании с подготовленными креплениями. Если используете дюбели, вставьте болты или шурупы и затяните их. Если выбраны анкеры, вставьте шпильку в отверстие и затяните гайку — при этом гильза крепежа расклинится в отверстии. Под головку болта или гайку подложите пластиковые или резиновые шайбы-прокладки, чтобы не расколоть керамическое основание. После фиксации проверьте уровнем, чтобы чаша стояла ровно и не качалась.
- Вставьте выходной патрубок сифона (часто это гофрированная труба) в раструб трубы канализации в стене или полу. Для герметичности используйте резиновую уплотнительную манжету подходящего диаметра (например, 32–40 мм). Предусмотрите уклон трубы в 2 см на метр.
- Подключите гибкие шланги к выводам воды на стене.
После окончания установки откройте подачу воды и поверните смеситель. Пропустите немного воды через слив и сифон. Осмотрите соединения — нигде не должно быть влаги. Если она появилась в стыке гибкой подводки со смесителем или в узле сифона, аккуратно подтяните накидную гайку на соединении разводным или гаечным ключом — обычно этого достаточно. Не затягивайте до упора: можно сорвать резьбу или повредить прокладку.
Щель между чашей и полом можно обработать силиконовым герметиком. Нанесите его тонким слоем по периметру с помощью монтажного пистолета. Не замазывайте всю «юбку» сантехники — оставьте небольшой зазор сзади, чтобы в случае протечки вода выходила наружу, а не скапливалась под чашей.
Проверку и устранение протечек выполняют до нанесения герметика. Герметизировать основание чаши имеет смысл только после того, как убедились, что все соединения сухие.
Герметизация основания биде. Источник: Youtube | The Aiden Project
Установка подвесного биде
Подвесное биде крепят на металлическую раму-инсталляцию, которую монтируют в стену и обшивают. Стандартные размеры ниши:
- ширина — 50–60 см
- глубина — 12–14 см (включая толщину рамы, гипсокартона и облицовки плиткой)
- высота — 130–140 см от чернового пола, чтобы после отделки верхний край чаши оказался на уровне 40–42 см от чистового пола
Инсталляцию для подвесного биде устанавливают так же, как и для унитаза: раму крепят к полу и стене, регулируют по уровню и закрывают влагостойким гипсокартоном с облицовкой плиткой или ПВХ-панелями.
Как установить инсталляцию для унитаза
Узнайте большеРазница в монтаже подвесного унитаза и биде только в подключении:
- Для биде подводят холодную и горячую воду к смесителю, который может быть встроен в чашу или установлен на стене. Все коммуникации монтируют до отделки стен.
- Слив организуют как у обычного биде — к канализационному патрубку.
Стык между стеной и чашей можно аналогично обработать тонким слоем силиконового герметика с антигрибковой добавкой.
Как пользоваться биде
Общий принцип один: человек садится на чашу, включает подачу воды и регулирует ее температуру и напор, если это предусмотрено конструкцией. Рекомендации для всех пользователей, как правильно пользоваться биде:
- Комфортно устройтесь на биде. В случае электронных моделей дождитесь полного выдвижения форсунок.
- Начинайте с минимального напора воды, постепенно регулируя его и температуру по ощущениям.
- При необходимости используйте мягкие моющие средства для интимной гигиены.
- Не спешите вставать сразу. Дождитесь окончания подачи воды и высушивания.
Женщинам
Строгих стандартов правильной посадки на биде — лицом или спиной к стене — нет. Оптимальное положение женщины выбирают так, чтобы струя попадала куда нужно, а доступ к управлению оставался удобным.
Далее настраивают струю воды. В механических моделях это делают вручную: открывают смеситель и крутят ручки. В электронных версиях нажимают на кнопку на панели или пульте — система сама подаст воду и поддержит выбранный режим.
Чем и как закрыть трубы в туалете своими руками
Узнайте большеМужчинам
Обычно мужчины садятся спиной к смесителю. В классических устройствах он расположен сзади, но у некоторых вариантов — сбоку. Важно, чтобы при посадке рычаги управления оставались под рукой, а струя воды попадала на зону омовения.
Часто задаваемые вопросы
Можно ли поставить биде в маленьком санузле?
Сколько воды уходит за одно использование?
Можно ли пользоваться биде детям?
Подходит ли биде пожилым людям?
Нужно ли ухаживать за биде?
Резюме
Использование биде помогает поддерживать гигиену быстрее и аккуратнее, чем с помощью одних только бумажных средств. Процедура экономит расход туалетной бумаги, снижает риск раздражения кожи и делает уход за собой комфортнее для всех: от малышей до пожилых. А при правильном выборе и установке биде можно разместить самостоятельно даже в небольшой ванной комнате или туалете.






